遥控浮球阀
进口遥控浮球阀
PN10/16
2″~ 24″
AMISCO进口遥控浮球阀由水力控制阀主阀与浮球开关及配管组成;主要功能是控制水池或高架水塔的液位;该阀安装于水池或高架水塔的进口处,依靠浮球感应液面高低,进而开关主阀,阀门密封可靠,使用寿命长。
进口遥控浮球阀特点:
>水力控制,无需外部驱动力;
>主阀只有一个运动部件,故障率低;
>隔膜式结构,无摩擦,控制灵敏度高;
>主阀与浮球分体安装;
>浮球与主阀口径大小无关。
进口遥控浮球阀工作原理:
进口遥控浮球阀由不锈钢水力控制阀主阀与浮球开关及配管组成,安装于水池或高架水塔的进口处:当水池或高架水塔中的液位达到设定高度时,浮球开关处于关闭位置。
使主阀关闭,停止向水池或高架水塔供水:当水池或高架水塔中的液位降低。浮球开关打开,主阀相继开启,向水池或高架水塔内注水,实现自动补水:液位控制精确,不受水压干扰:在大压差和高流速工况可选择AMISCO多喷孔型遥控浮球阀(采用抗气蚀型主阀)。

进口遥控浮球阀技术数据:
|
阀体规格 |
|
|
•公称通径 |
2”〜24”(DN50〜DN600) |
|
•公称压力 |
PN10/16 |
|
•工作温度 |
0〜85℃ |
|
•密封试验 |
1.1PN |
|
•壳体使用 |
1.5PN |
|
•适用介质 |
水 |
|
•制造标准 |
CJ/T219,JB/T10674 |
|
•连接标准 |
GB/T17241.6 |
|
•面间距标准 |
GB/T12221 |
|
•检测测试标准 |
GB/T13927 |
|
•阀体材料 |
球墨铸铁 |
|
•阀盖材料 |
球墨铸铁 |
|
•阀座材料 |
不锈钢 |
|
•支撑架 |
不锈钢 |
|
•阀杆 |
不锈钢 |
|
•弹簧 |
不锈钢 |
|
•膜片 |
橡胶 |
|
•密封圈 |
橡胶 |
|
•配管配件 |
黄铜 |
|
•浮球开关 |
不锈钢 |
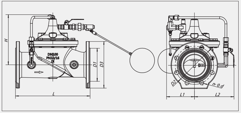
进口遥控浮球阀外形尺寸:
产品安装:
①不锈钢遥控浮球阀用于控制水池或高架水塔的液位,一般安装在水池或高架水塔的进水口。
②在安装不锈钢遥控浮球阀之前,应对管道进行冲洗,将管道内的杂物清理干净,严禁管道内遗留有焊渣、螺栓、螺母、树枝、石块等杂物,以免损坏阀门。
③在不锈钢遥控浮球阀的前后两端应设置关断阀及旁通管路,并预留足够的空间,以便于维护、保养、检修。
④建议在不锈钢遥控浮球阀的前端安装过滤器,防止杂物进入阀门造成阀门堵塞或损坏。
⑤安装不锈钢遥控浮球阀应检查管道水流方向,使阀门流向与管道水流方向一致。
⑥不锈钢遥控浮球阀可水平或垂直安装,建议水平安装。
⑦管道法兰焊接不能引起过度变形,焊角等不得影响密封面的平整性。
⑧不锈钢遥控浮球阀阀分体安装时,主阀与浮球开关之间的距离应≤ 30m。
调试与维护:
a:球阀 b:针阀 c:球阀 d:浮球开关
①系统通水前,应检查系统中的其他阀门及不锈钢遥控浮球阀上的球阀 a、c 是否全部打开。
②调整针阀 b,可以控制主阀的关闭速度。
③正常运行过程中,关闭球阀 c 可手动关闭不锈钢遥控浮球阀。
故障检修:
①不锈钢遥控浮球阀无法关闭:
解决方法:a、检查浮球开关是否止水,如不止水则需更换浮球开关。
b、检查球阀 a 是否关闭,如关闭则需打开。
c、检查主阀是否被管中杂物卡住,如被卡住则需清理管道中的杂物。
② 不锈钢遥控浮球阀无法开启:
解决方法:a、检查球阀 c 是否关闭,如关闭则需打开。
b、检查系统压力是否过低(系统压力需在 0.1MPa 以上)。
法兰螺栓规格表:
备注:配套螺母标准:GB/T6170
配套非石棉垫片标准:GB/T9126
配套平垫圈标准:GB/T97.2
