遥控浮球阀
进口不锈钢遥控浮球阀
PN10/16
2″~ 8″
AMISCO进口不锈钢遥控浮球阀由不锈钢水力控制阀主阀与浮球开关及配管组成,主要功能是控制水池或高架水塔的液位;该阀安装于水池或高架水塔的进口处,依靠浮球感应液面的高低,进而开关主阀,阀门密封可靠,使用寿命长。
产品特点:
>水力控制,无需外部驱动力;
>主阀只有一个运动部件,故障率低;
>隔膜式结构,无摩擦,控制灵敏度高;
>主阀与浮球分体安装;
>浮球与主阀口径大小无关。
进口不锈钢遥控浮球阀技术数据:
|
阀体规格 |
|
|
•公称通径 |
2”〜8”(DN50〜DN200) |
|
•公称压力 |
PN10/16 |
|
•工作温度 |
0〜85℃ |
|
•密封试验 |
1.1PN |
|
•壳体使用 |
1.5PN |
|
•适用介质 |
水 |
|
•制造标准 |
CJ/T219,JB/T10674 |
|
•连接标准 |
GB/T17241.6 |
|
•面间距标准 |
GB/T12221 |
|
•检测测试标准 |
GB/T13927 |
|
•阀体材料 |
不锈钢 |
|
•阀盖材料 |
阻燃 PC/PA66 |
|
•阀座材料 |
不锈钢 |
|
•支撑架 |
不锈钢 |
|
•阀杆 |
不锈钢 |
|
•弹簧 |
不锈钢 |
|
•膜片 |
橡胶 |
|
•密封圈 |
橡胶 |
|
•配管配件 |
不锈钢 |
|
•浮球开关 |
不锈钢 |
工作原理:
不锈钢遥控浮球阀由不锈钢水力控制阀主阀与浮球开关及配管组成,安装于水池或高架水塔的进口处:当水池或高架水塔中的液位达到设定高度时,浮球开关处于关闭位置。
使主阀关闭,停止向水池或高架水塔供水:当水池或高架水塔中的液位降低。浮球开关打开,主阀相继开启,向水池或高架水塔内注水,实现自动补水:液位控制精确,不受水压干扰:在大压差和高流速工况可选择AMISCO不锈钢多喷孔型遥控浮球阀(采用抗气蚀型主阀)。

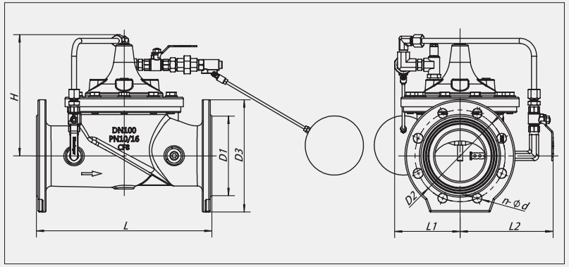
进口不锈钢遥控浮球阀外形尺寸:
产品安装:
①不锈钢遥控浮球阀用于控制水池或高架水塔的液位,一般安装在水池或高架水塔的进水口。
②在安装不锈钢遥控浮球阀之前,应对管道进行冲洗,将管道内的杂物清理干净,严禁管道内遗留有焊渣、螺栓、螺母、树枝、石块等杂物,以免损坏阀门。
③在不锈钢遥控浮球阀的前后两端应设置关断阀及旁通管路,并预留足够的空间,以便于维护、保养、检修。
④建议在不锈钢遥控浮球阀的前端安装过滤器,防止杂物进入阀门造成阀门堵塞或损坏。
⑤安装不锈钢遥控浮球阀应检查管道水流方向,使阀门流向与管道水流方向一致。
⑥不锈钢遥控浮球阀可水平或垂直安装,建议水平安装。
⑦管道法兰焊接不能引起过度变形,焊角等不得影响密封面的平整性。
⑧不锈钢遥控浮球阀阀分体安装时,主阀与浮球开关之间的距离应≤ 30m。
进口不锈钢遥控浮球阀调试与维护:
a:球阀 b:针阀 c:球阀 d:浮球开关
①系统通水前,应检查系统中的其他阀门及不锈钢遥控浮球阀上的球阀 a、c 是否全部打开。
②调整针阀 b,可以控制主阀的关闭速度。
③正常运行过程中,关闭球阀 c 可手动关闭不锈钢遥控浮球阀。
故障检修:
①不锈钢遥控浮球阀无法关闭:
解决方法:a、检查浮球开关是否止水,如不止水则需更换浮球开关。
b、检查球阀 a 是否关闭,如关闭则需打开。
c、检查主阀是否被管中杂物卡住,如被卡住则需清理管道中的杂物。
② 不锈钢遥控浮球阀无法开启:
解决方法:a、检查球阀 c 是否关闭,如关闭则需打开。
b、检查系统压力是否过低(系统压力需在 0.1MPa 以上)。
